熱門關鍵詞: 碳纖維手機殼 碳纖維手機套 凱夫拉手機殼 凱芙拉手機殼

北京時間9月4日晚間消息,蘋果周二獲得了一項碳纖維模具工藝專利。這一技術未來可被用于利用超輕材料制造設備部件,例如筆記本或移動設備外殼。



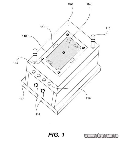
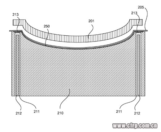
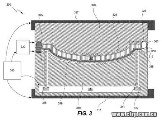
這項專利名為“碳材料模具設計”,美國專利號為8257075,描述了一種利用碳纖維和其他合成樹脂材料制造“具有美感的”部件的系統和方法。
市場上對碳纖維材料的應用已有很多,而蘋果指出,這一發明可用于“制造筆記本或其他類似設備的外殼”。由于消費者對輕薄、大屏幕便攜式設備的需求越來越多,這一專利可能會非常有用。例如有傳聞稱,下一代iPhone盡管屏幕達到4英寸,但由于采用碳纖維材料,因此重量不會變重。
本文來自123

