摘要: 文章從艇身smc熱壓模具設計基礎、艇身smc成型工藝關鍵技術等方面對于某高速摩托艇艇身smc壓縮模具設計與制造進行了詳細的介紹。
1 艇身smc壓縮模具設計與制造
1.1 艇身壓縮模具設計基礎
smc熱固性玻璃鋼壓縮模是將片狀玻璃纖維板料料放入成型溫度下的模具加料腔,使其受熱受壓,成為熔融狀態充滿整個型腔,當塑件固化成形后,上下模打開利用頂出裝置頂出塑件,從而得到所需制品,主要用于熱固性塑料成型。其特點是簡單、無澆注系統、料耗少、制品變形小、收縮小、各向異性小。壓縮模的典型結構為固定式壓縮模,其上下模都固定在壓機上,開模、合模、脫模等工序均在壓機內進行,生產效率高,操作簡單,勞動強度小,開模振動小,模具壽命長。但其結構復雜,成本高,且安放嵌件不方便。適用于成形批量較大或形狀較大的塑件。熱固性塑料壓縮成型需花較高的溫度下進行,因此模具必須加熱,常見的加熱方式有電加熱、蒸汽加熱、煤氣或天然氣加熱等,電加熱應用普遍,但是其維修保養麻煩,且溫度均勻性難以控制。高精度的smc壓縮模應用較多的是采用油加熱,其加熱溫度可保證一致性好,且成本低同時可延長模具的使用壽命。 copyright 123456
壓縮模的典型結構可按如圖1所示的方式分類,按與壓機連接的方式可分為移動式和固定式,按照模具凸凹模配合的結構形式可分為溢式、半溢式和不溢式三種。其中不溢式壓縮模又稱封閉式壓縮模,這種模具有加料室,其斷面形狀與型腔完全相同,加料室是型腔上部的延續。沒有擠壓邊,但凸模與凹模有高度不大的間隙配合,一般每邊間隙值約0.075 mm左右,壓制時多余的塑料沿著配合間隙溢出,使塑件形成垂直方向的毛邊。模具閉合后,凸模與凹模即形成完全密閉的型腔,壓制時壓機的壓力幾乎能完全傳給塑料。不溢式壓縮模的特點是塑件承受壓力大,故密實性好,強度高。不溢式壓縮模由于塑料的溢出量極少.因此加料量的多少直接影響著塑件的高度尺寸,每模加料都必須準確稱量,所以塑件高度尺寸不易保證,故流動性好、容易按體積計量的塑料一般不采用不溢式壓縮模。凸模與加料室側壁摩擦,不可避免地會擦傷加料室側壁,同時,加料室的截面尺寸與型腔截面相同,在頂出時帶有傷痕的加料室會損傷塑件外表面。不溢式壓縮模必須設置推出裝置,否則塑件很難取出。如圖2所示為典型的壓縮模結構示意圖。
123,123
不溢式壓縮模一般不設計成多腔模,因為加料不均衡就會造成各型腔壓力不等,而引起一些制件欠壓。不溢式壓縮模適用于成形形狀復雜、壁薄和深形塑件,也適用于成形流動性特別小、單位比壓高和比容大的塑料。例如用它成形棉布、玻璃布或長纖維填充的塑料制件效果好,不僅僅是因為這些塑料流動性差,要求單位壓力高;而且若采用溢式壓縮模成形,當布片或纖維填料進入擠壓面時,不易被模具夾斷而妨礙模具閉合.造成飛邊增厚和塑件尺寸不準.去除困難。而不溢式壓縮模沒有擠壓面,所得的飛邊不但極薄,而且飛邊在塑件上呈垂直分布,去除比較容易,可以用平磨等方法去除。

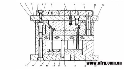
圖1 壓縮模典型結構分類方式
半溢式壓縮模又稱為半封閉式壓縮模,這種模具具有加料室.但其斷面尺寸大于型腔尺寸。凸模與加料室呈間隙配合.加料室與型腔的分界處有一環形擠壓面.其寬度約4—5 mm。擠壓邊可限制凸模的下壓行程,井保證塑件的水平方向毛邊很薄。半溢式壓縮模的特點是模具使用壽命較長。因加料室的斷面尺寸比型腔大,故在頂出時塑件表面不受損傷.塑料的加料量不必嚴格控制,因為多余的塑料可通過配合間隙或在凸模上開設的溢料槽排出。塑件的密度和強度較高,塑件徑向尺寸和高度尺寸的精度也容易保證簡化加工工藝。當塑件外形復雜時,若用不溢式壓塑模必造成凸模與加料室的制造困難.而采用半溢式壓塑模則可將凸模與加料室周邊配合而簡化。半溢式壓縮模由于有擠壓邊緣,在操作時要隨時注意清除落在擠壓邊緣上的廢料,以免此處過早地損壞和破裂。由于半溢式壓縮模兼有溢式壓縮模和不溢式壓縮模的特點,因而被廣泛用來成形流動性較好的塑料及形狀比較復雜、帶有小型嵌件的塑件,且各種壓制場合均適用。溢式壓縮模由于其成本低,常用于制件技術含量低要求不高的場合。
內容來自123456

1 內六角螺釘 2 承壓板 3 上模座板 4 加熱板 5、9、21 內六角螺釘 6沉頭螺釘 7 凸模
8 圓柱銷釘 10 導柱 11 凹模固板 12 導套 13墊塊 14支承板(加熱板) 15 凹模 16推板導柱
17 推板導套 18 推板 19推桿固定板 20推桿 22下模座板
圖2 壓縮模的典型結構示意圖
1.2艇身smc熱壓模具設計與制造
smc壓縮模由型腔、導向機構、側向分型抽芯機構、脫模機構、加熱系統等機構組成。其中型腔是直接成型塑件的部位,型腔與加料室共同起裝料的作用。導向機構用來保證上下模合模的對中性。保證推出機構上下運動平穩。在成型帶有側向凹凸或側孔的塑件時,模具必須設有各種側分型抽芯機構,塑件才能抽出。固定式壓縮模在模具上必須有脫模機構 (推出機構)。smc壓縮模設計的關鍵是其凸模與凹模配合結構形式,典型的包括溢式壓縮模,其凸、凹模無配合,凸、凹模接觸面應光滑平整,但不宜太大,設計成寬3~5mm環形面,但這樣環形面易損。不溢式結構其凸凹模配合間隙與配合高度要適當,太小則排氣困難,凸、凹模易擦傷,太大則溢料嚴重,飛邊難去除。半溢式結構其因帶有水平擠壓面,擠壓面寬度不應太小。為使余壓全部由擠壓面承受,必須設承壓塊。現代產品成型工藝中因溢式壓縮模的固有缺陷,其應用較少。應用較多的是半溢式和不溢式兩種結構。
copyright 123456
摩托艇艇身覆蓋件是目前國內最大的smc模壓件,加上其外形結構復雜、鑲嵌件多、成型難度高、配合精度高、耐海水腐蝕等要求;同時承受著艇的各種運行工況作用,因而要求重量輕、比強度高。采用傳統的手糊成型工藝不僅產品質量差、技術含量低、一致性差,而且存在勞動強度高、生產效率低、制造成本高等缺陷。艇身采用smc片狀模塑料壓制成型,將填補國內采用此種方法成型全smc復合材料艇身的空白。采用鋼板拼焊整體模具設計制造,通過油循環加熱實現smc艇身的熱模壓,實現smc艇身的大批量無余量生產。smc模壓最核心的主要依賴于模具的結構設計、模壓的時間、壓力溫度等工藝參數的合理制定、熱變形的校正措施等。
ugnx提供了基于專家系統的注塑模(mold wizard)、鈑金零件沖壓模(die engineer)、級進模(progressive die wizard)等模具設計功能,模具專家設計系統融入了模具設計師的經驗和系統開發師的智慧,使用它們可以加速模具設計速度,提高產品的設計質量。模具設計向導技術提供了基于最優實踐基礎上的、逐步引導式進行構造的工作流程,使許多企業的模具設計過程實現了自動化。使得企業在模具設計制造(規劃、采購、詳細設計、電極設模具制造)的并行展開,因而縮短了交付時間。由于艇身smc熱成型壓縮模在模具的結構設計上與注塑模有相似的地方,因此在進行艇身熱壓模具設計時,充分利用注塑模(mold wizard)模具設計的相似性解決模具分模,模具結構設計方面的設計工作。
123456
如圖3所示為對該艇身smc模壓成型的模具設計、模具數控加工編程以及模具實物。該模具結構為封閉式、油循環加熱成型艇身。此種結構較開放式、電加熱型模具,其產品重量可以嚴格控制、無飛邊、壁厚一致性好、加熱均勻、維修維護方便、模壓能耗低等多種優點。模具設計最主要的為凸凹模凸凹模之間的接口配合設計對溢料飛邊的影響、加熱系統的設計、頂出機構與模具的表面光潔度與修配余量的控制。

圖3 摩托艇艇身模具設計制造與實物
2 艇身smc模壓成型工藝關鍵
壓縮模塑前的準備的工作包括模具調整、預壓。壓縮模塑過程中對于大的嵌件應預熱;關鍵是加料量應準確。凸模為接觸塑料前應快,接觸后要慢。排氣應安排在塑料未固化前,速度要快。固化速度和固化程度要適當,使制品性能好,生產效率高。要控制兩個參數是固化速度和固化程度。固化速度過快容易導致充模不滿;過慢則生產周期長,生產效率低。固化程度不足則導致力學強度、耐蠕變性、耐熱性、化學性能下降;固化過度則導致力學強度不高,脆性大,變色,表面有氣泡。脫模劑的選用在每件制品模壓前也起著重要的作用,同時在模具清理時可用銅刀或銅刷去除殘留物,用壓縮空氣吹凈模具。
本文來自123
壓縮模塑成型的壓力在整個成型過程中,壓力的變化與壓縮模類型有關。成型壓力主要根據塑料種類、塑料形態、制品形狀及尺寸、成型溫度和壓縮模結構等確定。提高壓力,利于充模,但太高,易損壞嵌件與模具。成型時模具溫度,比熱塑性塑料模溫更重要。型腔內熱固性塑料最高溫度大于模具溫度;熱塑性塑料低于模溫。模壓時間與成型溫度有關,成型溫度越高,時間越短。還與塑料種類、制品形狀及厚度、壓縮模結構、預壓和預熱、成型壓力等有關。模壓時間太長,會產生過熟,導致制品強度下降,過短,則欠熟。
艇身smc模壓過程中的關鍵要素分別為填料、加壓、溫度、保溫時間、起模、模具潤滑等。其中smc原材料對模壓的有著重要的影響,如s35/1039/1046三種不同的材料,其模壓的過程控制不同。如s35的材料,其綜合機械性能高,纖維含量高且纖維絲較長,樹脂含量低,其熱模壓時成型流動比較困難,因此在鋪料時要求鋪料要盡可能的均勻分布。1039則綜合機械性能較低,樹脂含量高,成型流動性好,但是脆性大。而1046這種類型的材料,綜合機械性能適中,樹脂含量和纖維含量適中,該材料的綜合機械性能與成型工藝性能介入s35與1039之間,是比較適合大型薄壁殼體的成型的。從上述分析來看,在選擇模壓工藝前,首先要對纖維、樹脂的含量對成型工藝性、機械性能等方面分析,從而能夠比較好的確定其模壓工藝參數與過程控制。
123,123
艇身smc模壓常見的缺陷主要包括重量超標或者過小、表面出現裂紋、表面光潔度不夠、表面顏色不均勻且有些部位出現黃色、脫模不順暢有時出現粘模的現象。針對上述情況在試模時的填料在理論計算的基礎上通過工藝試驗驗證的方法進行合理的控制,同時配制樣板在smc板料的基礎上對填料進行控制下料稱重。模具表面溫度通過溫度測量計對多處關鍵點的溫度進行測量,根據溫度分布均勻的需要,對模具加溫和流道等進行合理的設計制造來保證,在設計初期可通過有限元模擬的方法對流道進行傳熱分析模擬優化設計,有效的保證了模壓時模具溫度的均勻一致性。針對模壓后,由于產品取出后為高溫達120o左右狀態,因此對脫模后的產品為保證產品的外形和減小冷卻過程中的變形,通過校形鋪放工裝有效的保證了產品的外觀尺寸精度一致性要求。如下圖所示為艇身模壓出的實物圖,經過裝配粘接與水上試驗,通過smc成型的方式,不僅有效的減輕了整艇的重量,同時有效的保證了產品的密封性、行駛的穩定性和使用強度與疲勞要求,如圖4所示為壓制成型合格后的實物。
內容來自123456

圖4 艇身模壓實物圖
3 結束語
本文重點對某高速摩托艇為例,對其艇身smc壓縮模具設計與制造進行了重點介紹。希望能為讀者提供一些借鑒。
參考文獻
[1] 中國模具設計大典(第五卷),黃乃瑜等,2003,江西科學技術出版社.
[2] 模具設計基礎及模具,李建軍等,2006,cad機械工業出版社.
[3] 材料成型工藝,夏巨葚等,2005,機械工業出版社.
中國航天科工集團第九研究院紅陽機械廠(湖北孝感 432100)